X1001-Max PCIe M.2 HAT
  Getting Started - hardware
   
 
  Home       Be Our Distributor      Custom Products      OEM/ODM      What We Do      Contact  
     
 
       hardware overview   hardware   software  
     




 
       required hardware  
 
   1   

X1001-Max PCIe M.2 HAT

     

Raspberry Pi 5

 
  3   27W-120W USB-C PD power supply   4   micro-SD card (≥16GB) x1, not required if NVMe boot  
  5   M.2 NVMe SSD          
     
 

 - Power the X1001-Max via the USB-C socket or the DC jack.

 - Do not connect both. Do not apply power to your Raspberry Pi via the Type-C USB socket.

 
 
       hardware installation  
 
 
Step 1
   
 
  • Insert the M2.5×5mm screw upward through the base mounting hole, then thread the M2.5×20mm female-female spacer onto the screw until finger-tight. 

   
Step 2
   
 
  • Confirm the FFC cable orientation

“PIP” – Must connect to the X1001-Max

“RPi5” – Must connect to the Raspberry Pi 5

 
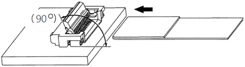
  • Pull out the actuator then plug the FFC cable and push the actuator to hold the cable inside.

   
   
   
Step 3
   
  • Plugs the X1001-Max directly into the Pi's 40-pin GPIO header.

 
  • Use four M2.5 screws to secure it in place.
 
  • Open the FPC actuator completely, and insert it in the interior of the insertion entrance surely when you insert FFC.

 
  • After FFC insertion, rotate the actuator down to a full stop, pushing it at the center.

Step 4
   
  • Insert the M.2 SSD into M.2 slot then slide the SSD drive into the M.2 slot at 30 degrees while pushing it gently till it fits into the slot.

 
  • Press the M.2 SSD drive till it sits on the riser screw then lock it in place using the M2 mounting screw.

   
   
 

 
   
   
© 2025 SupTronics Technologies Limited, All Rights Reserved.